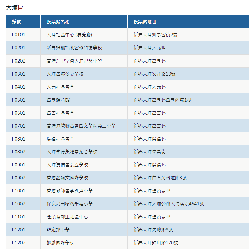
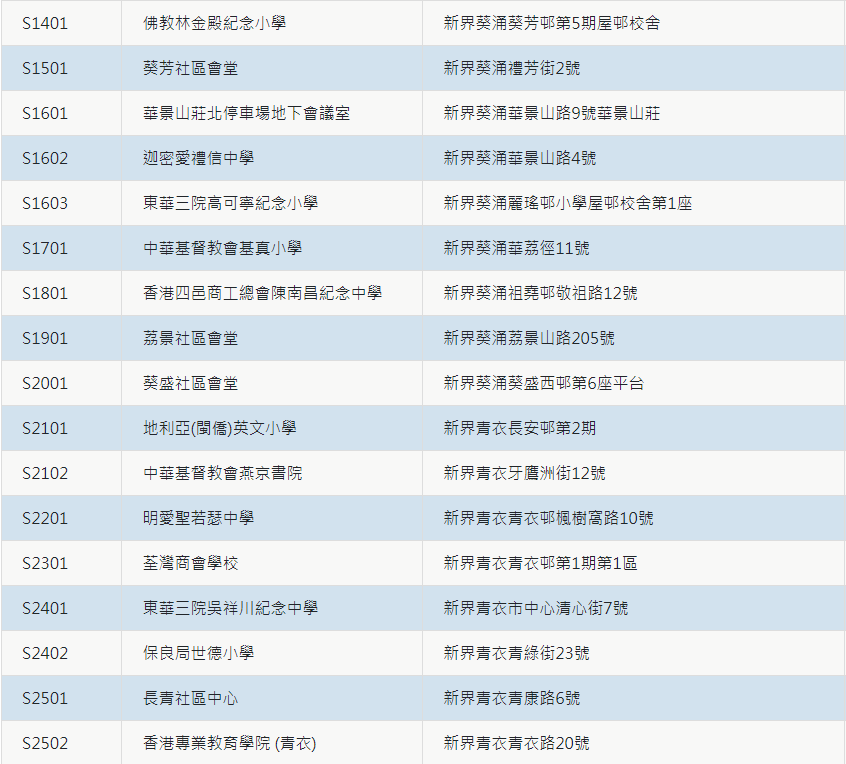
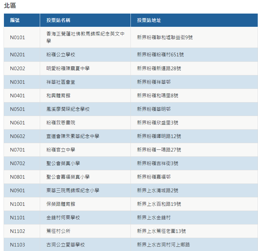
大公文匯全媒體報道,香港第八屆立法會選舉定於12月7日(星期日)舉行,161名候選人競逐90個議席,當中10個地方選區共有51人競逐20個議席。今次立法會選舉投票將設立615個一般投票站,設於學校、地區及政府設施場地。想知道自己可以去邊度投票?(點此可查詢前往哪個投票站投票)大公文匯全媒體為讀者整理了10個地方選區的票站分布,供大家一文睇清!
香港島東選區
香港島西選區
九龍東選區
九龍西選區
九龍中選區
新界東南選區
新界北選區
新界西北選區
新界西南選區
新界東北選區
(大公文匯全媒體記者整理報道)
編輯:游尘
關鍵詞:立法會選舉投票一般投票站地方選區一文
評論
查看更多評論>>
加載中……
